Engates Rápidos - CAMLOCK
Adaptador com Conexão
para Mangueira - Fluxo E


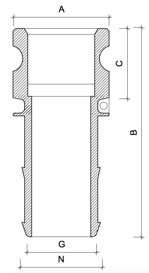
Dimensões (mm)
Adaptador com Conexão para Mangueira - Fluxo E
| Camlock Size | ¾” 20mm |
1" 25mm |
1¼" 32mm |
1½" 40mm |
2" 50mm |
2½" 65mm |
3" 80mm |
4" 100mm |
5" 125mm |
6" 150mm |
| A | 32 | 36.7 | 45.5 | 53.4 | 63 | 75.8 | 91.5 | 119.5 | 145.2 | 175.9 |
| B | 35 | 36 | 40 | 45 | 50 | 52 | 52 | 55 | 55 | 58 |
| C | 72 | 100 | 109 | 128 | 147 | 156 | 158 | 175 | 184 | 249 |
| G | 20 | 25.4 | 31.4 | 37.9 | 50.6 | 63.5 | 75.2 | 101 | 126.3 | 151 |
| N | 21.5 | 27.6 | 34.3 | 39.8 | 52.3 | 66.9 | 77.3 | 103.3 | 127.6 | 154.2 |
