Engates Rápidos - CAMLOCK
Acoplador com Rosca Macho - Fluxo B


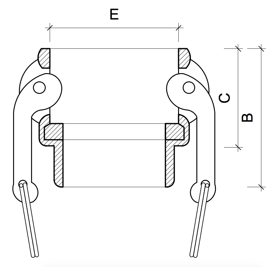
Dimensões (mm)
Acoplador com Rosca Macho - Fluxo B
| Tamanho Camlock | ¾” 20mm |
1" 25mm |
1-¼" 32mm |
1-½" 40mm |
2" 50mm |
2-½" 65mm |
3" 80mm |
4" 100mm |
5" 125mm |
6" 150mm |
| B | 62 | 62 | 64.5 | 67 | 74.5 | 84.5 | 88.7 | 95 | 97 | 103.5 |
| C | 40.1 | 40.1 | 45.8 | 46.1 | 50.2 | 55.2 | 58 | 59.2 | 60 | 62 |
| E | 32.4 | 37.3 | 46 | 54 | 63.8 | 76.5 | 92.2 | 120.2 | 146 | 176.5 |
